Schritt 3 - Die zweite Lernregel
Das Neuron hat gelernt und die bisherige 1. und 2. Zeile sind korrekt.😎
Jetzt sind aber auch die beiden nächsten Zeilen sichtbar und die 3. und 4. Zeile stimmen nicht! 😭
Und noch etwas: Bisher hatten wir nur eine Regel, was zu tun ist, wenn die Vorgabe „0“ nicht eingehalten wird. Jetzt wird aber die Vorgabe „1“ nicht eingehalten. Wir benötigen also
noch eine Lernregel
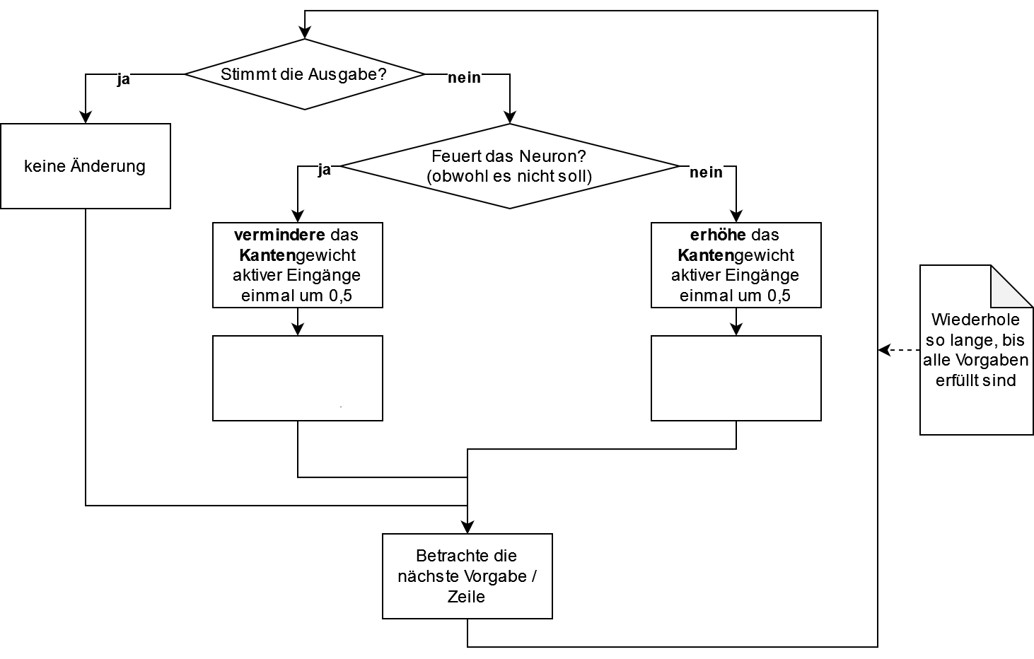
Zu der ersten Lernregel kommt eine zweite Lernregel hinzu:
(1) Feuert das Neuron, obwohl es nicht soll, dann vermindere das Kantengewicht aktiver Eingänge um 0,5
Neues Kantengewicht = Altes Kantengewicht - 0,5
(2) Feuert das Neuron nicht, obwohl es soll, dann erhöhe das Kantengewicht aktiver Eingänge um 0,5
Neues Kantengewicht = Altes Kantengewicht + 0,5
Achtung! Wende die passende Regel pro Zeile nur einmal an - danach geht es weiter mit der nächsten Zeile.
Blick auf die dritte Zeile
Konzentriere dich zunächst einmal auf die dritte Zeile:
- Begründe, warum hier w₂ nicht geändert werden muss.
- Berechne den neuen Wert für w₁ und teste, ob für beide Zeilen die Vorgabe eingehalten wird.
Denke daran, dass die Regel aber nur einmal angewandt wird.
Blick auf die vierte Zeile
Der Lernschritt aufgrund der dritten Zeile hat zwar keine Erfolg gebracht, trotzdem schauen wir jetzt auf die vierte Zeile:
- Begründe, warum hier w₁ und w₂ zu ändern sind.
- Berechne den neuen Wert für w₁ und w₂ und teste, ob für beide Zeilen die Vorgabe eingehalten wird.
- Begründe, warum es nicht genügt, nur w₁ zu ändern (obwohl es ganz praktisch gewesen wäre...).
Erneut: Blick auf die erste Zeile
Nachdem wir die vierte Zeile bearbeitet haben, geht es wieder von vorne - mit der ersten Zeile - los.
- Begründe, warum hier gar keine Änderung an w₁ oder w₂ vorgenommen werden kann.
- Formuliere eine Regel, was zu tun ist, wenn die Vorgabe eingehalten wird.
Erneut: Blick auf die zweite Zeile
Und jetzt nochmal zur zweiten Zeile - hier stimmt noch etwas nicht...
- Begründe, warum hier w₂ reduziert werden muss.
- Sind alle Vorgaben eingehalten?
Wie häufig mussten wir insgesamt die erste Lernregel anwenden und wie häufig mussten wir die zweite Lernregel anwenden?
Quellen
- [1]: Lernregel - Urheber: JOM - Lizenz: inf-schule.de
